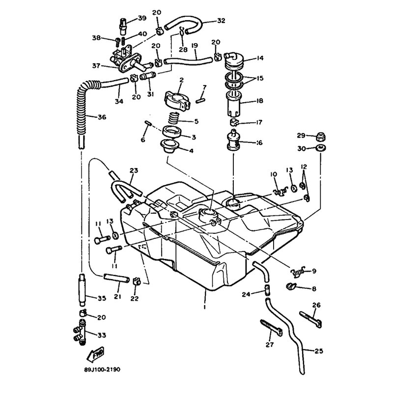
SCHLAUCH
Artikelname: SCHLAUCH
OEM: 90446-09351 [904460935100]
OEM: 90446-09351 [904460935100]




















