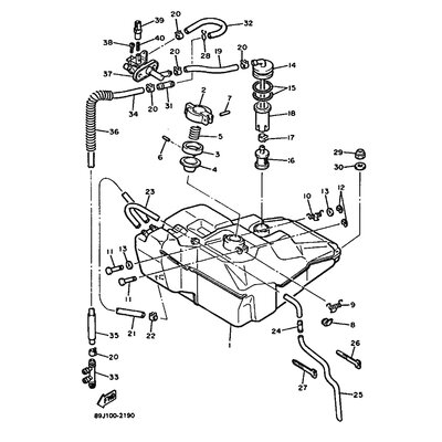
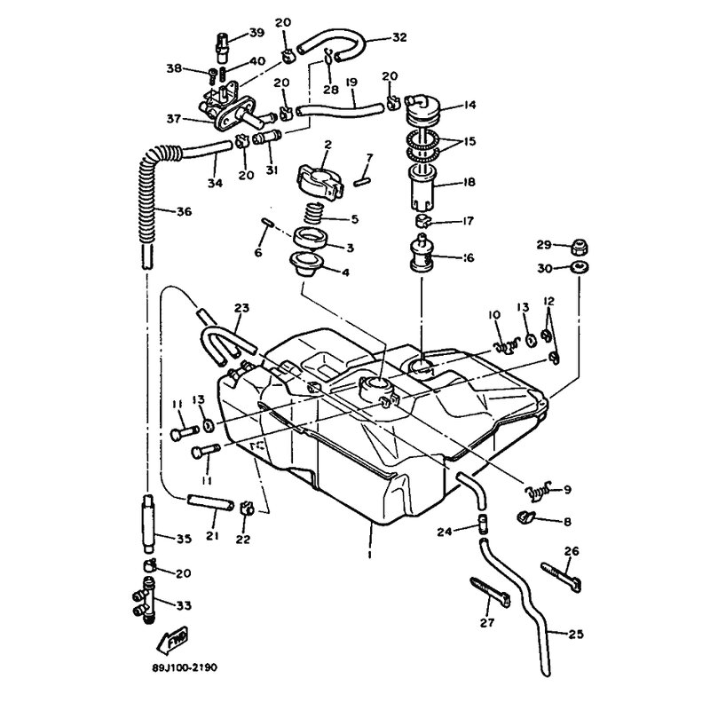
KRAFTSTOFFROHR 1
Artikelname: KRAFTSTOFFROHR 1
OEM: 88R-24311-00 [88R243110000]
OEM: 88R-24311-00 [88R243110000]




















