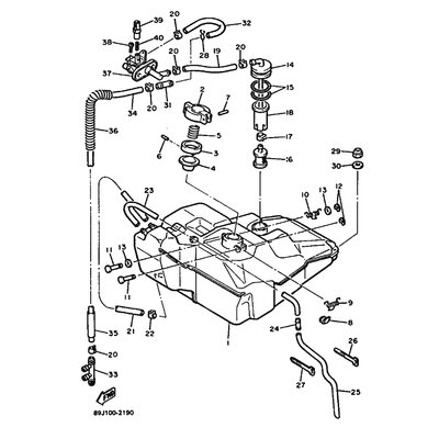
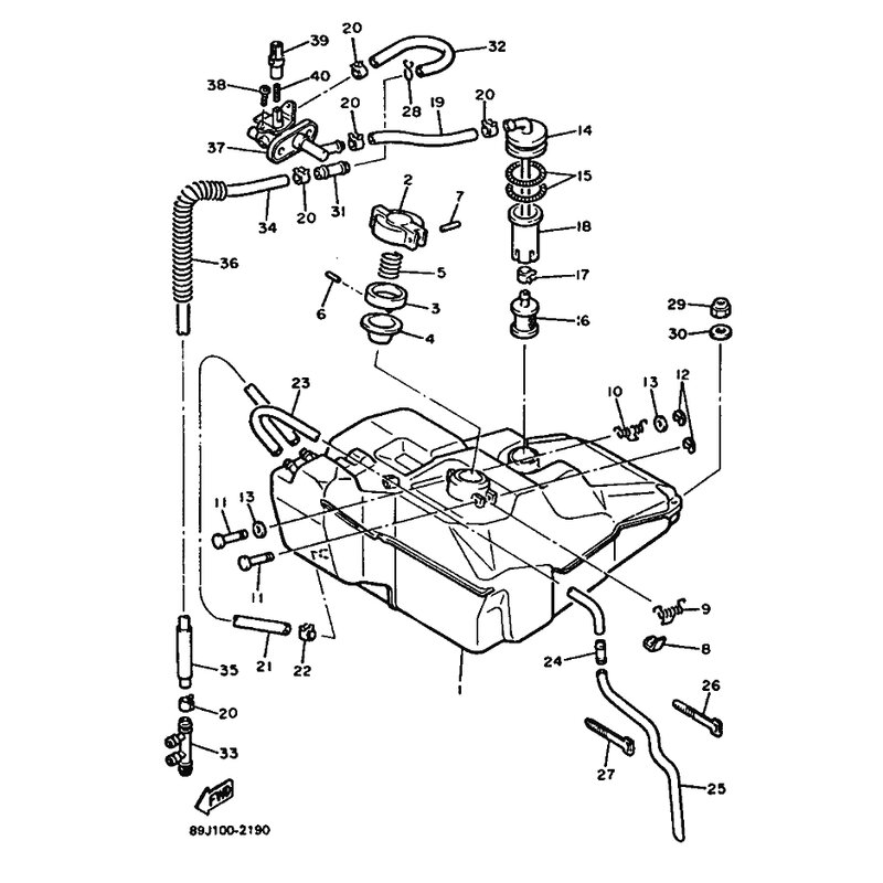
SCHUTZ, ROHR
Artikelname: SCHUTZ, ROHR
OEM: 806-24328-00 [806243280000]
OEM: 806-24328-00 [806243280000]




















