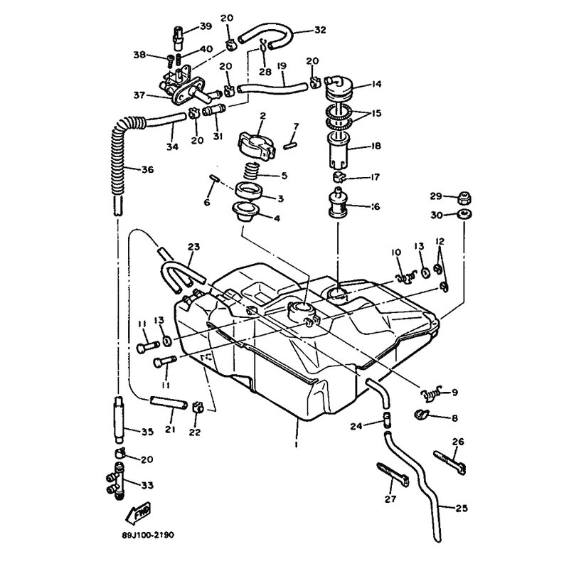
SCHLAUCH
Artikelname: SCHLAUCH
OEM: 90446-09015 [904460901500]
OEM: 90446-09015 [904460901500]




















