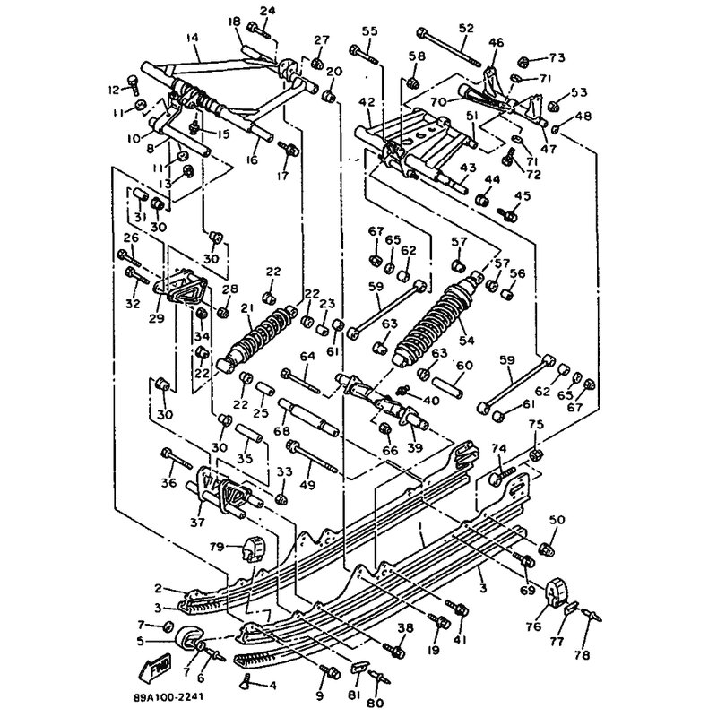
HULSE
Artikelname: HULSE
OEM: 90387-165Y6 [90387165Y600]
OEM: 90387-165Y6 [90387165Y600]




















