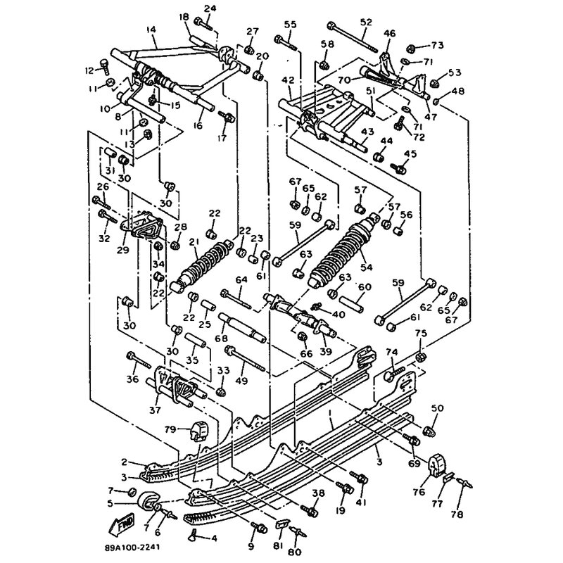
HULSE
Artikelname: HULSE
OEM: 90387-105Y8 [90387105Y800]
OEM: 90387-105Y8 [90387105Y800]




















