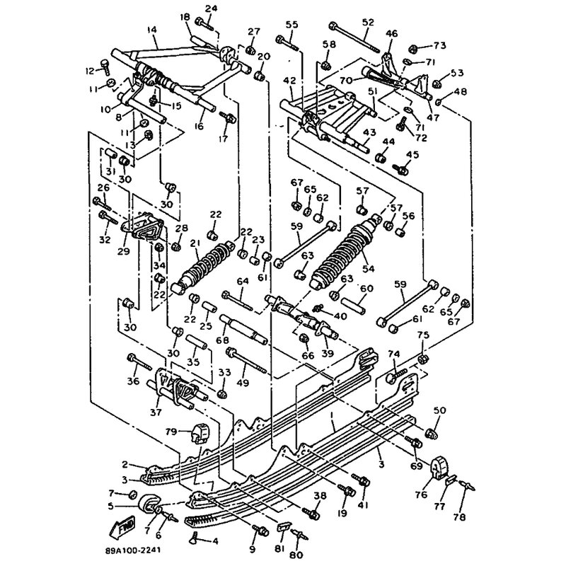
ROD RELAY
Artikelname: ROD RELAY
OEM: 89A-47494-01 [89A474940100]
OEM: 89A-47494-01 [89A474940100]




















