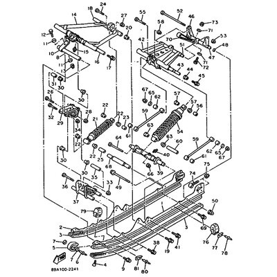
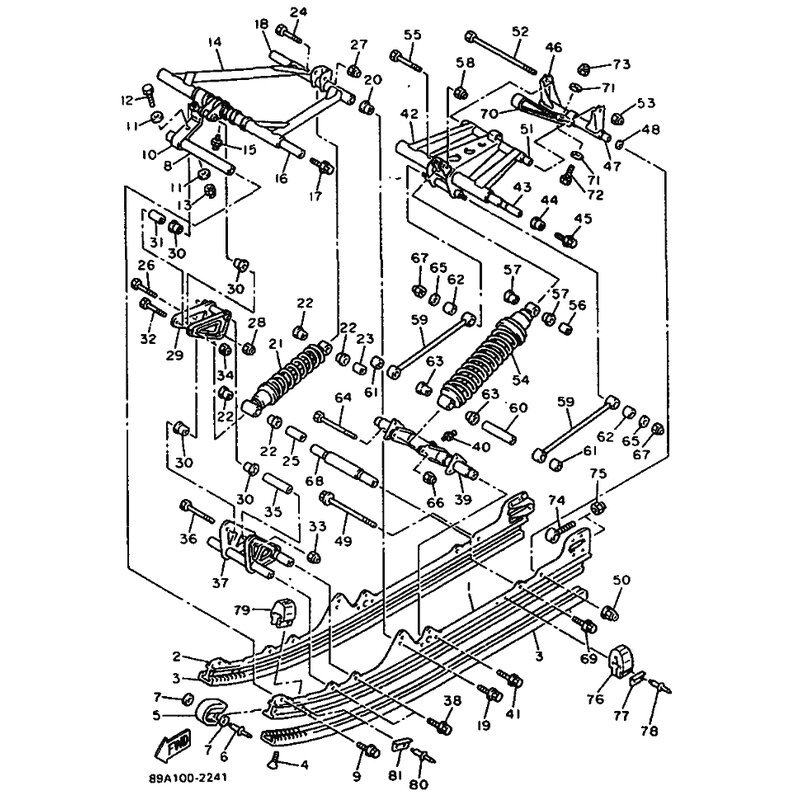
HULSE
Artikelname: HULSE
OEM: 90387-145Y7 [90387145Y700]
OEM: 90387-145Y7 [90387145Y700]




















