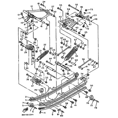
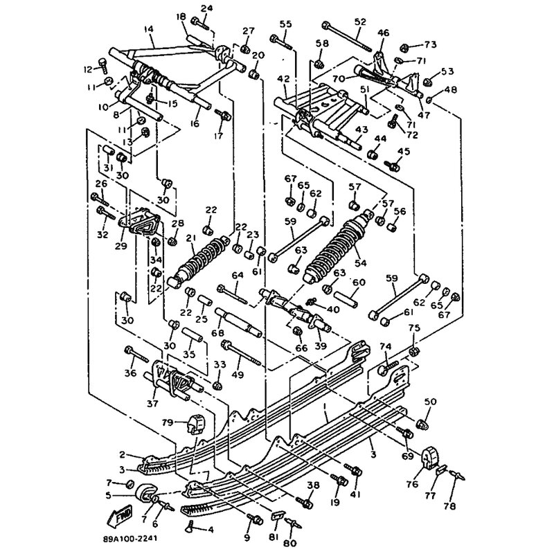
HULSE
Artikelname: HULSE
OEM: 90387-165Y9 [90387165Y900]
OEM: 90387-165Y9 [90387165Y900]




















