HULSE
Artikelname: HULSE
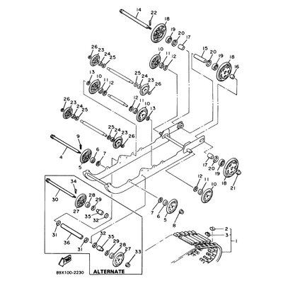
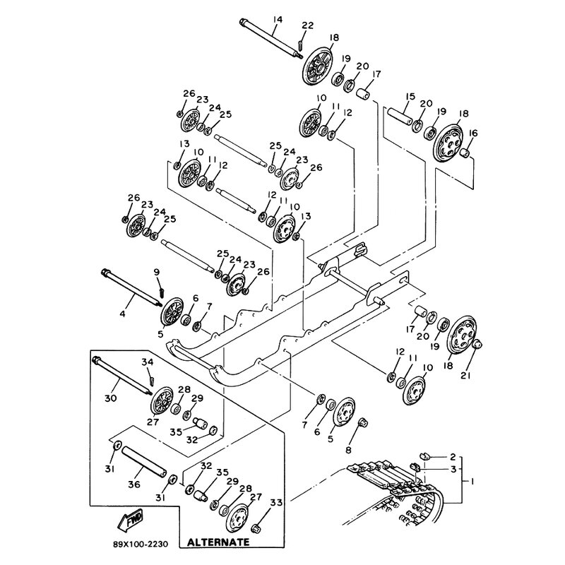
OEM: 90387-202X5 [90387202X500]
OEM: 90387-202X5 [90387202X500]




















