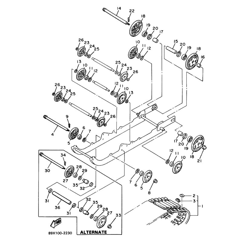
HULSE
Artikelname: HULSE
OEM: 90387-202X4 [90387202X400]
OEM: 90387-202X4 [90387202X400]




















