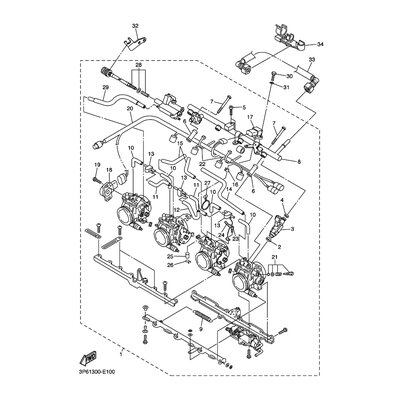
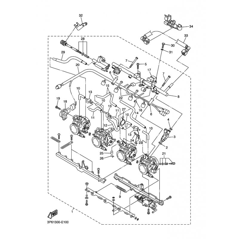
SCHLAUCH
Artikelname: SCHLAUCH
Hersteller: Yamaha
OEM Nummer: 5JW149872000
Hersteller: Yamaha
OEM Nummer: 5JW149872000




















