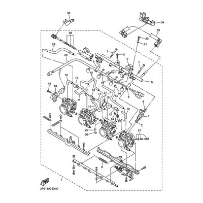
SCHLAUCH
Artikelname: SCHLAUCH
Hersteller: Yamaha
OEM Nummer: 5JW149871000
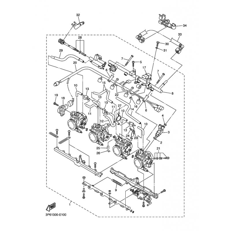
Hersteller: Yamaha
OEM Nummer: 5JW149871000






















