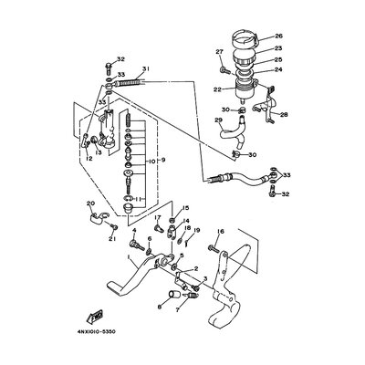
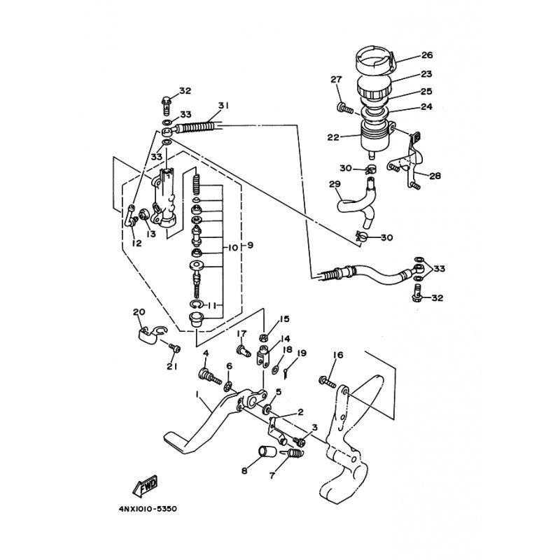
BREMSPEDAL
Artikelname: BREMSPEDAL
Hersteller: Yamaha
OEM Nummer: 4FM272111100
Hersteller: Yamaha
OEM Nummer: 4FM272111100






















