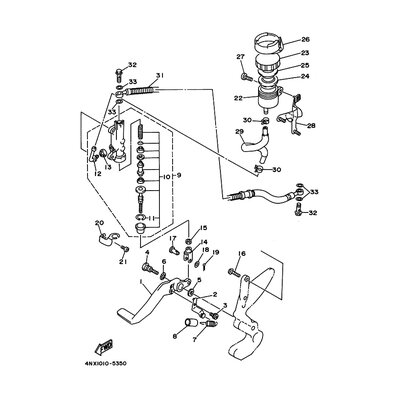
BREMSPEDAL
Artikelname: BREMSPEDAL
Hersteller: Yamaha
OEM Nummer: 4FM272111000
Dieser Artikel wurde durch folgenden ersetzt: 4FM272111100
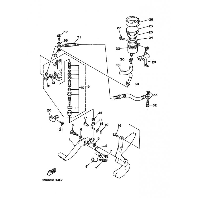
Hersteller: Yamaha
OEM Nummer: 4FM272111000
Dieser Artikel wurde durch folgenden ersetzt: 4FM272111100






















