STANGE
Artikelname: STANGE
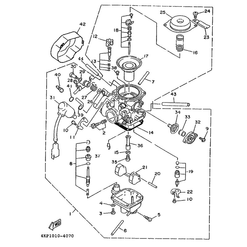
OEM: 4CW-14504-00 [4CW145040000]
OEM: 4CW-14504-00 [4CW145040000]




















