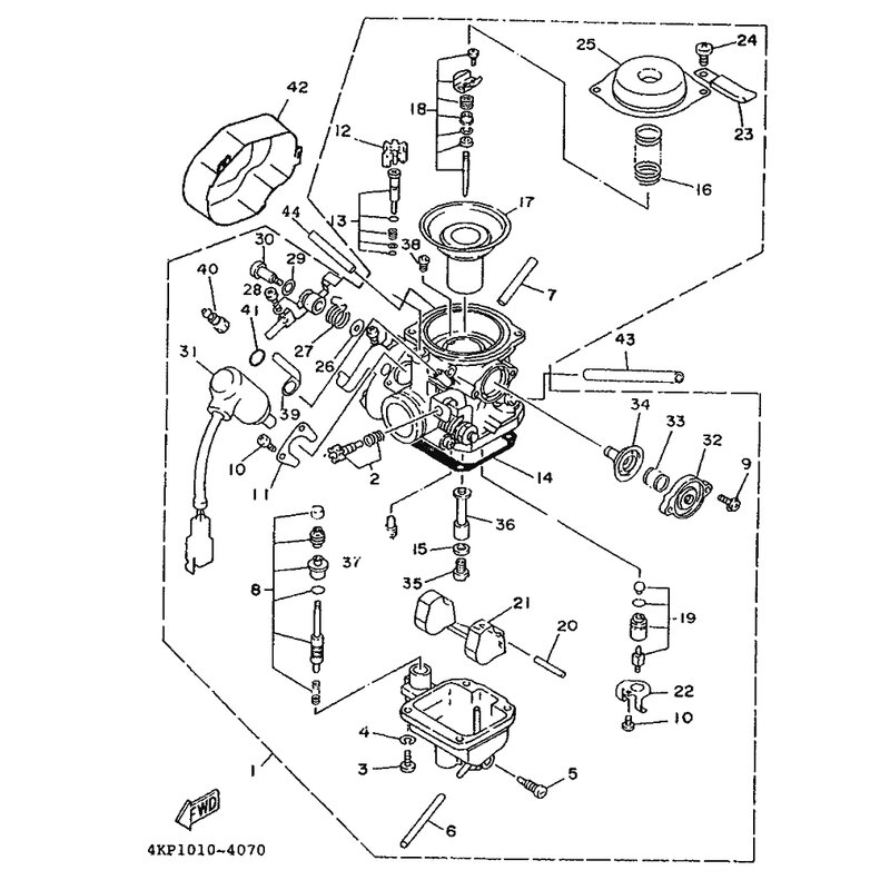
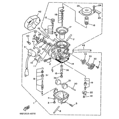
PLATTE
Artikelname: PLATTE
OEM: 4CW-14243-00 [4CW142430000]
OEM: 4CW-14243-00 [4CW142430000]




















