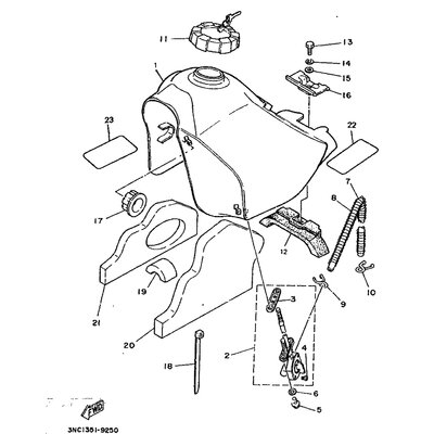
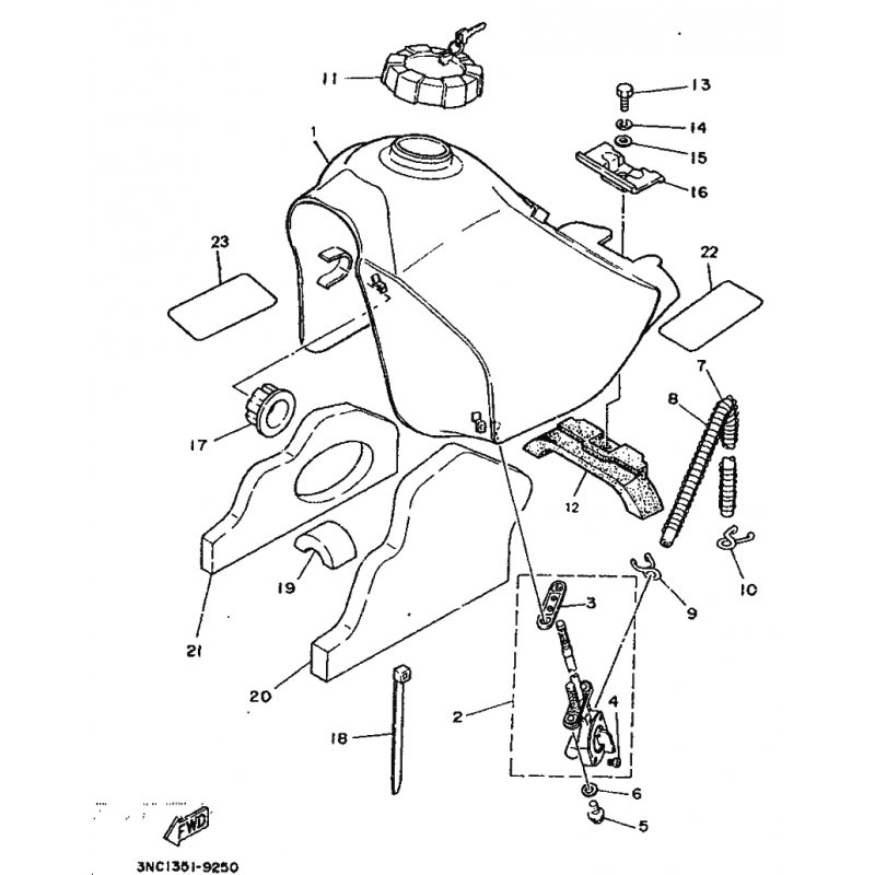
KRAFTSTOFFROHR 1
Artikelname: KRAFTSTOFFROHR 1
Hersteller: Yamaha
OEM Nummer: 3ET243110000
Hersteller: Yamaha
OEM Nummer: 3ET243110000




















