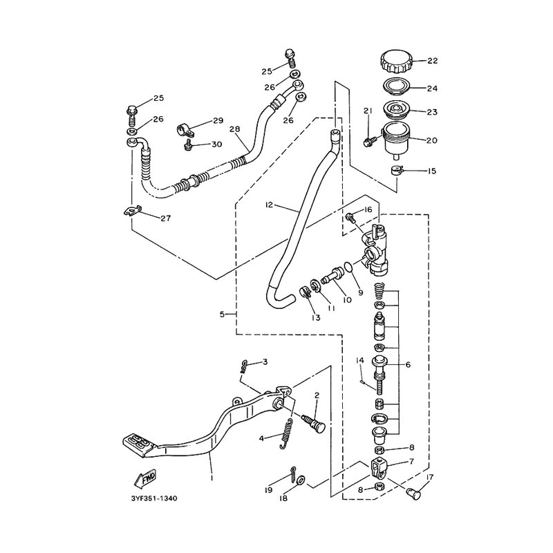
BREMSPEDAL
Artikelname: BREMSPEDAL
OEM: 3YF-27211-00 [3YF272110000]
OEM: 3YF-27211-00 [3YF272110000]




















