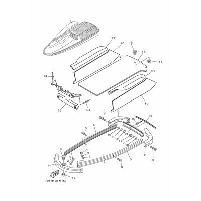
PAD,1
Artikelname: PAD,1
Hersteller: Yamaha
OEM Nummer: GM66521C1000
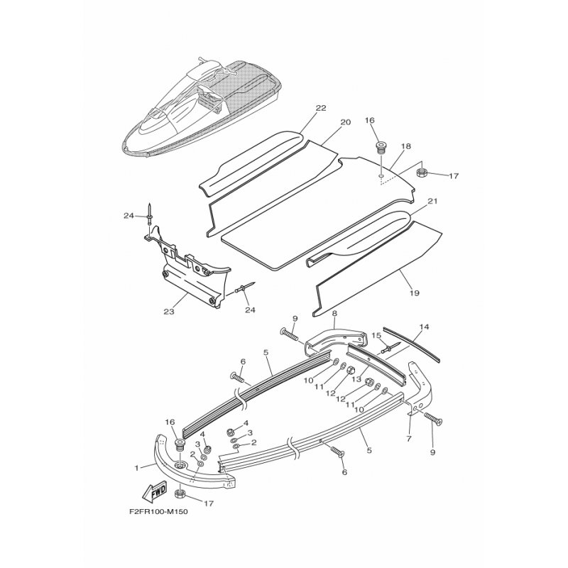
Hersteller: Yamaha
OEM Nummer: GM66521C1000




















