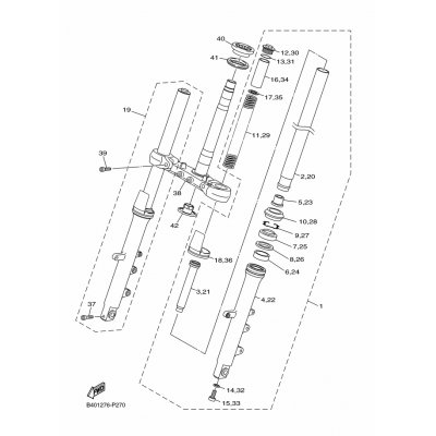
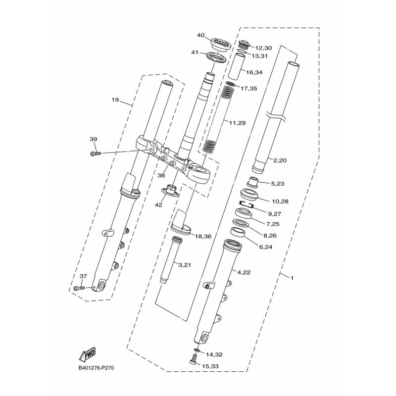
UNTERE KONSOLE KOMPL.
Artikelname: UNTERE KONSOLE KOMPL.
Hersteller: Yamaha
OEM Nummer: B40233401000
Hersteller: Yamaha
OEM Nummer: B40233401000






















