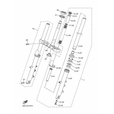
AUSSERES ROHR 1
Artikelname: AUSSERES ROHR 1
Hersteller: Yamaha
OEM Nummer: B40231260000
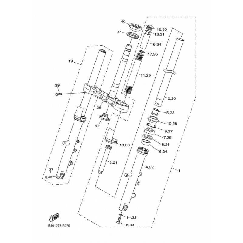
Hersteller: Yamaha
OEM Nummer: B40231260000




















