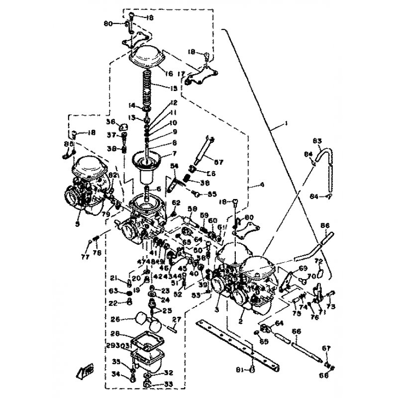
SCREW, PANHEAD (2F3)
Artikelname: SCREW, PANHEAD (2F3)
Hersteller: Yamaha
OEM Nummer: 978010400800
Dieser Artikel wurde durch folgenden ersetzt: 985010400800
Hersteller: Yamaha
OEM Nummer: 978010400800
Dieser Artikel wurde durch folgenden ersetzt: 985010400800




















