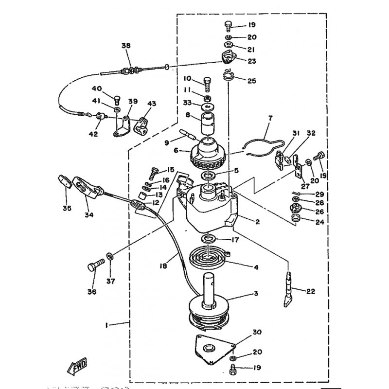
BOLT
Artikelname: BOLT
Hersteller: Yamaha
OEM Nummer: 973050602500
Dieser Artikel wurde durch folgenden ersetzt: 973150602500
Hersteller: Yamaha
OEM Nummer: 973050602500
Dieser Artikel wurde durch folgenden ersetzt: 973150602500






















