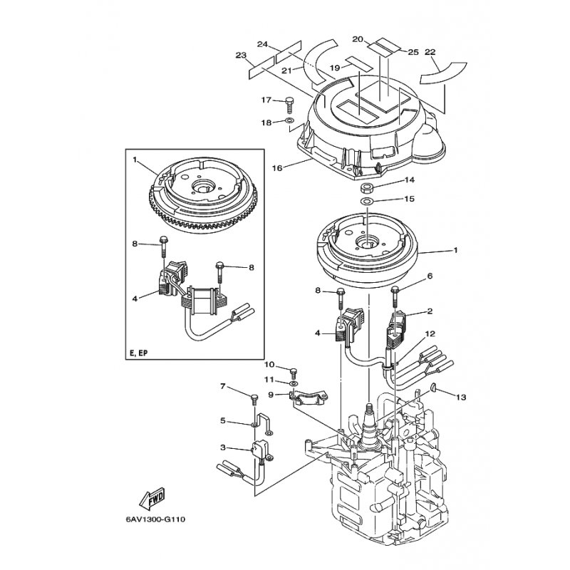
SCHRAUBE
Artikelname: SCHRAUBE
Hersteller: Yamaha
OEM Nummer: 970950501000
Hersteller: Yamaha
OEM Nummer: 970950501000




















