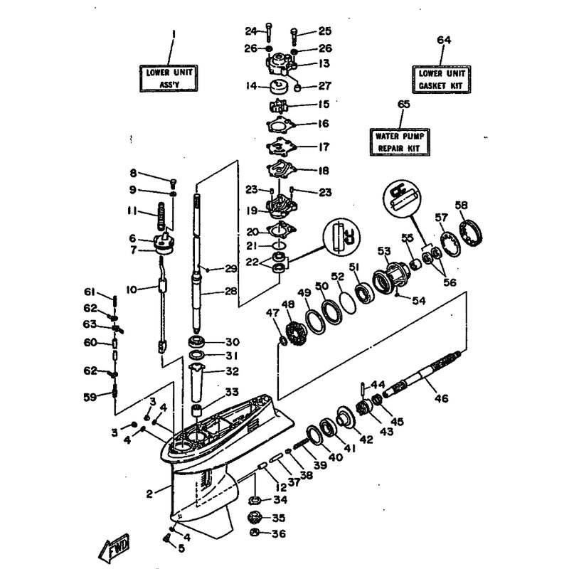
LAGER
Artikelname: LAGER
OEM: 93332-000V4 [93332000V400]
OEM: 93332-000V4 [93332000V400]






















