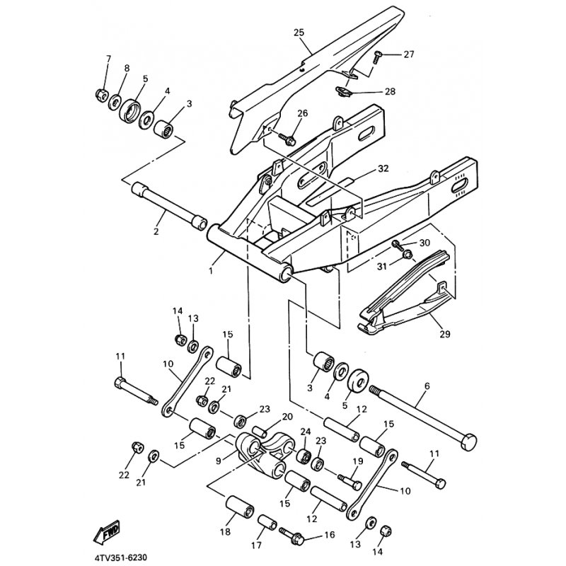
LAGER, ZYLINDRISCH
Artikelname: LAGER, ZYLINDRISCH
Hersteller: Yamaha
OEM Nummer: 933173177100
Hersteller: Yamaha
OEM Nummer: 933173177100






















