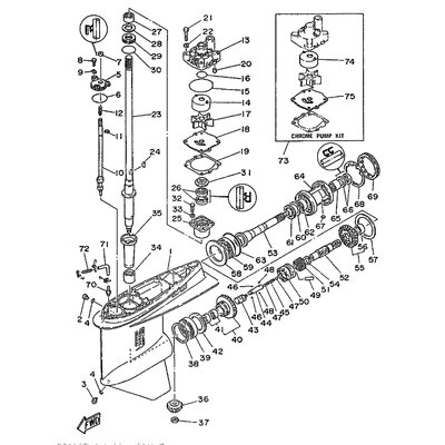
LAGER, ZYLINDRISCH
Artikelname: LAGER, ZYLINDRISCH
Hersteller: Yamaha
OEM Nummer: 93315430V500
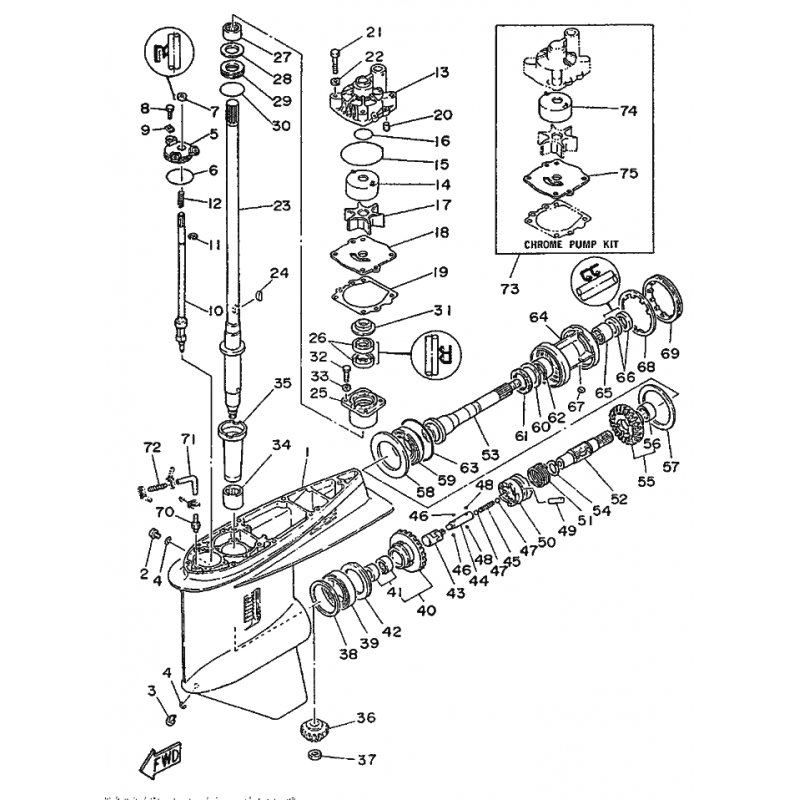
Hersteller: Yamaha
OEM Nummer: 93315430V500




















