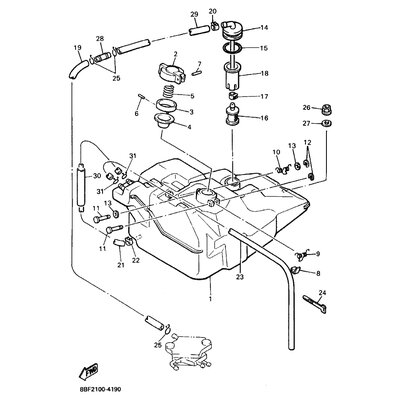
PIN, SPRING
Artikelname: PIN, SPRING
Hersteller: Yamaha
OEM Nummer: 916092503200
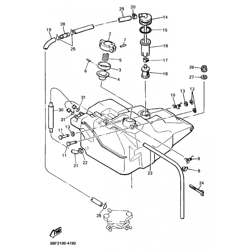
Hersteller: Yamaha
OEM Nummer: 916092503200




















