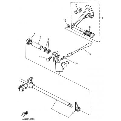
ABSTANDHALTER
Artikelname: ABSTANDHALTER
Hersteller: Yamaha
OEM Nummer: 905601221100
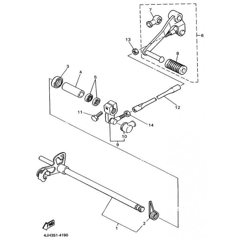
Hersteller: Yamaha
OEM Nummer: 905601221100






















