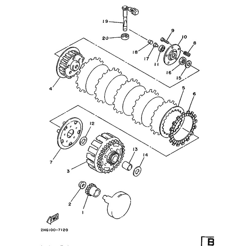
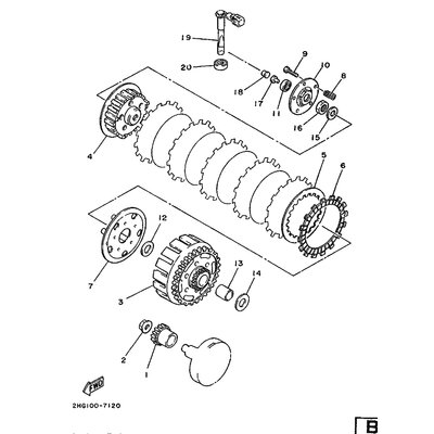
ABSTANDHALTER
Artikelname: ABSTANDHALTER
OEM: 90560-17214 [905601721400]
OEM: 90560-17214 [905601721400]




















