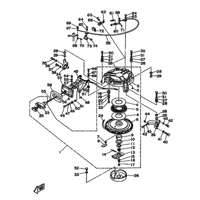
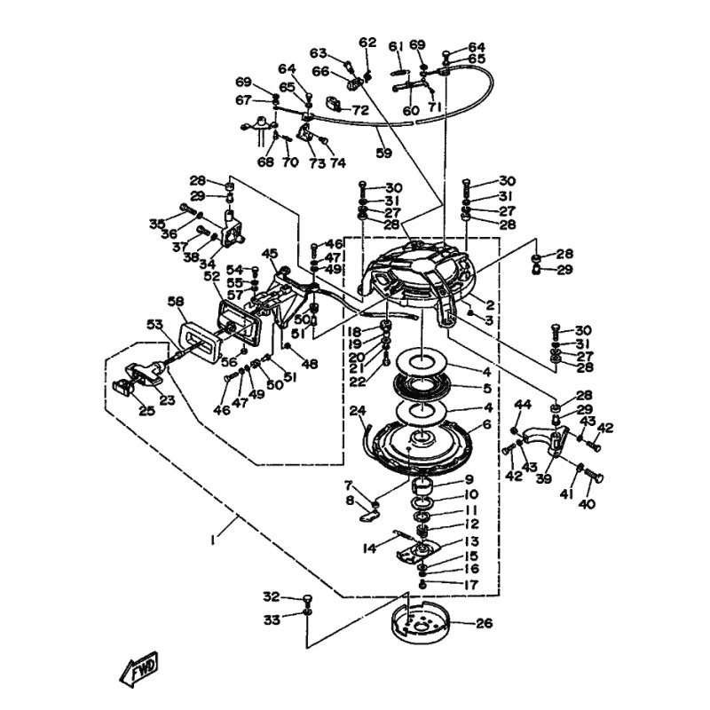
ZUGFEDER
Artikelname: ZUGFEDER
Hersteller: Yamaha
OEM Nummer: 905081201500
Hersteller: Yamaha
OEM Nummer: 905081201500






















