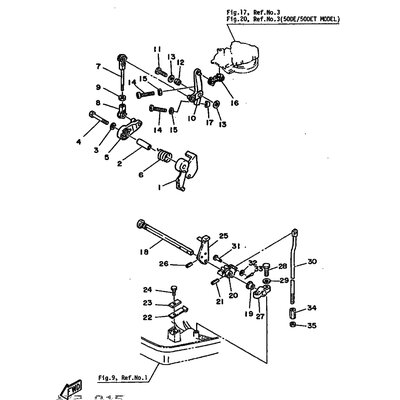
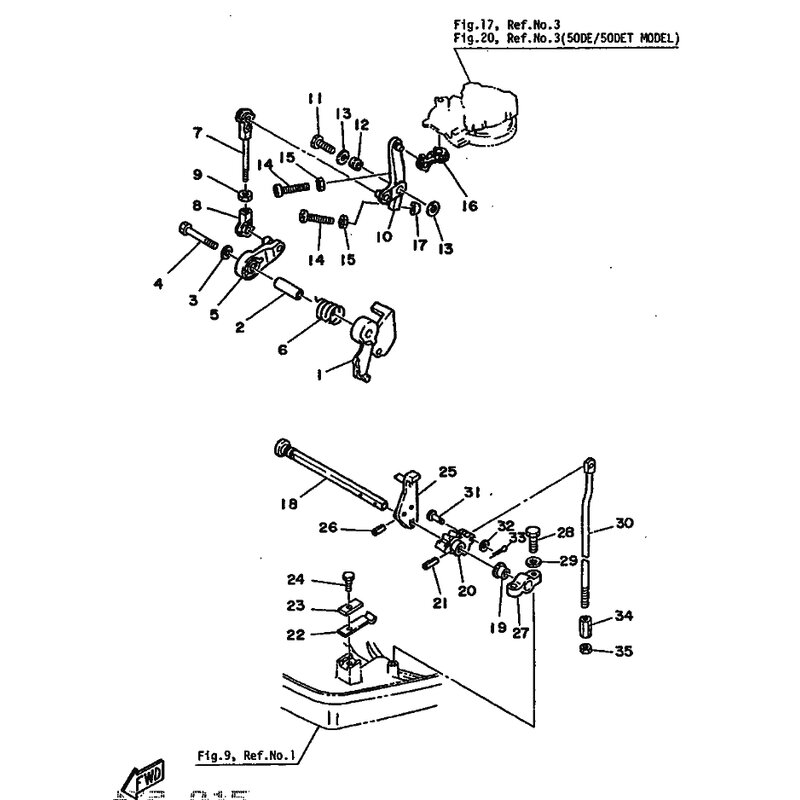
ZUGFEDER
Artikelname: ZUGFEDER
OEM: 90508-26M20 [9050826M2000]
OEM: 90508-26M20 [9050826M2000]






















