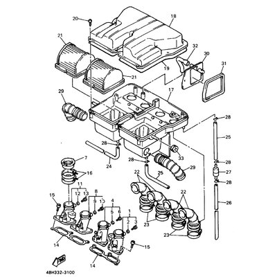
GUMMITULLE
Artikelname: GUMMITULLE
Hersteller: Yamaha
OEM Nummer: 904801849900
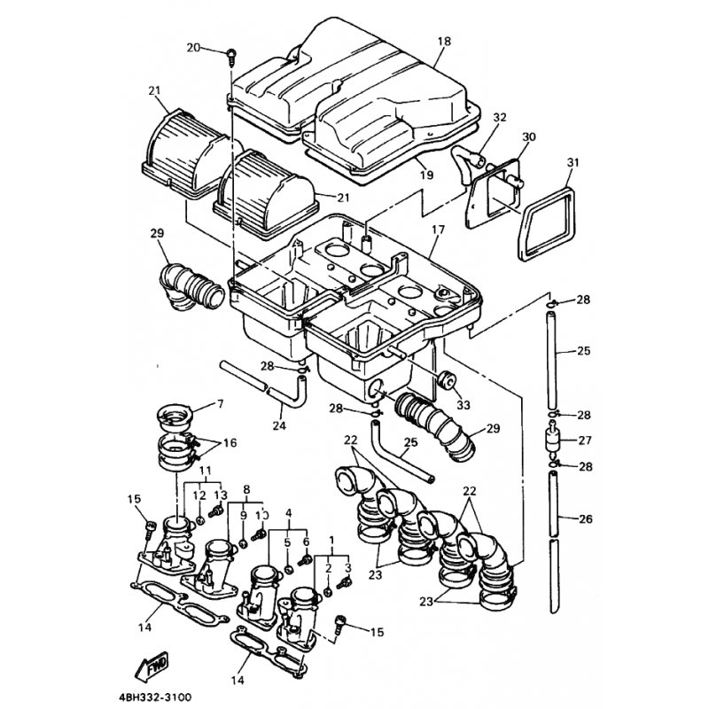
Hersteller: Yamaha
OEM Nummer: 904801849900






















