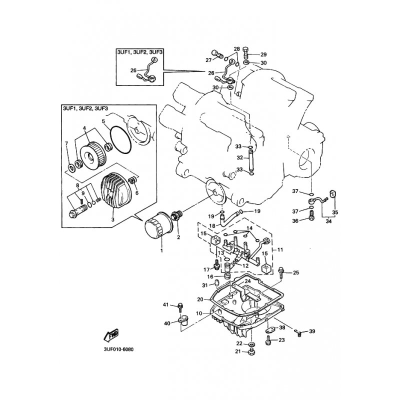
SCHELLE
Artikelname: SCHELLE
Hersteller: Yamaha
OEM Nummer: 904652328600
Hersteller: Yamaha
OEM Nummer: 904652328600






















