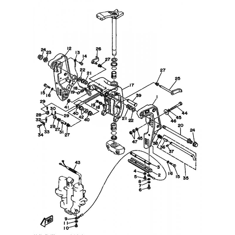
ROHR
Artikelname: ROHR
Hersteller: Yamaha
OEM Nummer: 9044014M0000
Hersteller: Yamaha
OEM Nummer: 9044014M0000






















