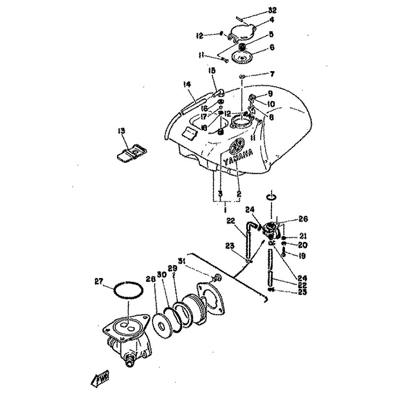
DICHTUNG
Artikelname: DICHTUNG
OEM: 90430-10150 [904301015000]
OEM: 90430-10150 [904301015000]




















