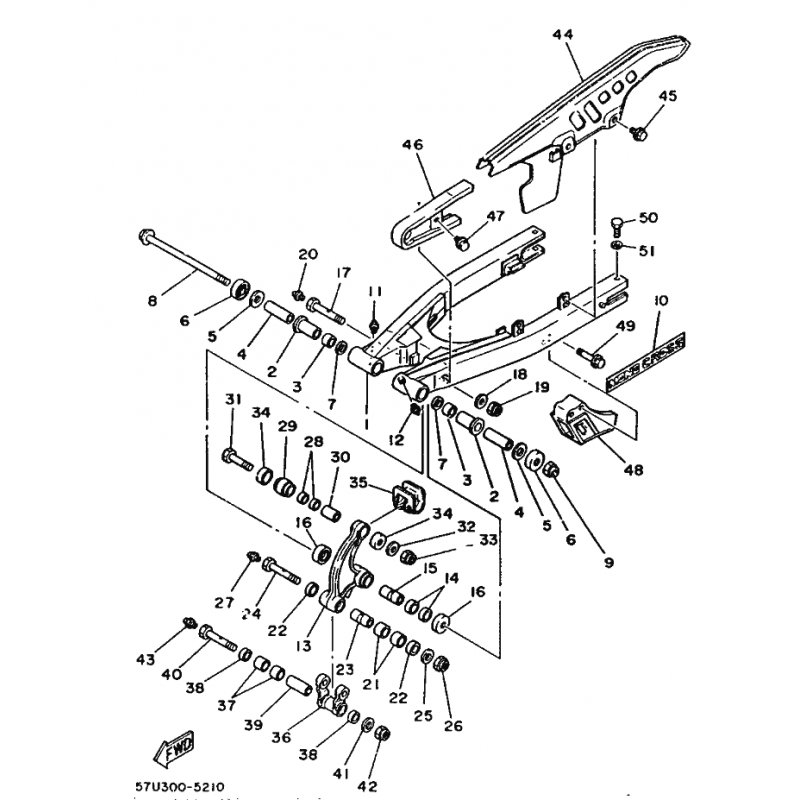
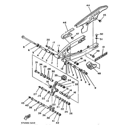
HULSE
Artikelname: HULSE
Hersteller: Yamaha
OEM Nummer: 90387127F200
Hersteller: Yamaha
OEM Nummer: 90387127F200






















