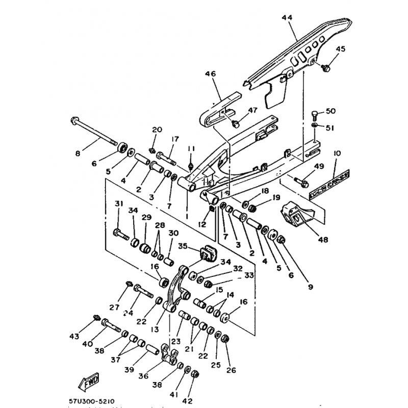
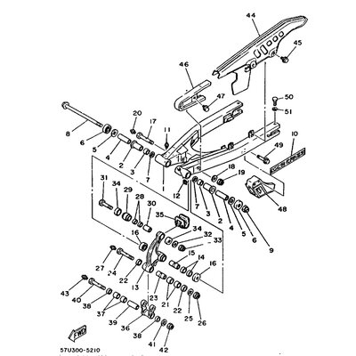
HULSE
Artikelname: HULSE
Hersteller: Yamaha
OEM Nummer: 90387121L600
Hersteller: Yamaha
OEM Nummer: 90387121L600




















