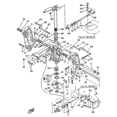
NIET
Artikelname: NIET
Hersteller: Yamaha
OEM Nummer: 902690301000
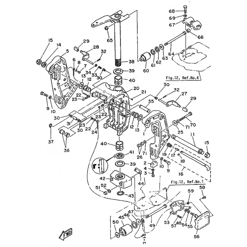
Hersteller: Yamaha
OEM Nummer: 902690301000






















