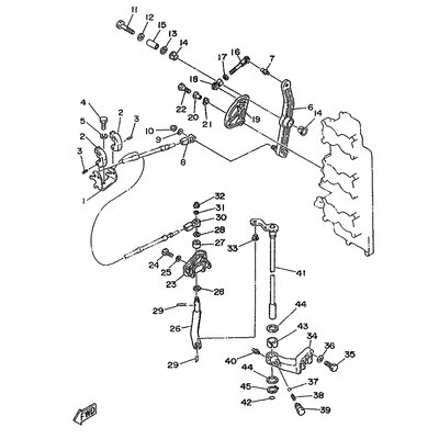
UNTERLEGSCHIBE
Artikelname: UNTERLEGSCHIBE
Hersteller: Yamaha
OEM Nummer: 9020108M6100
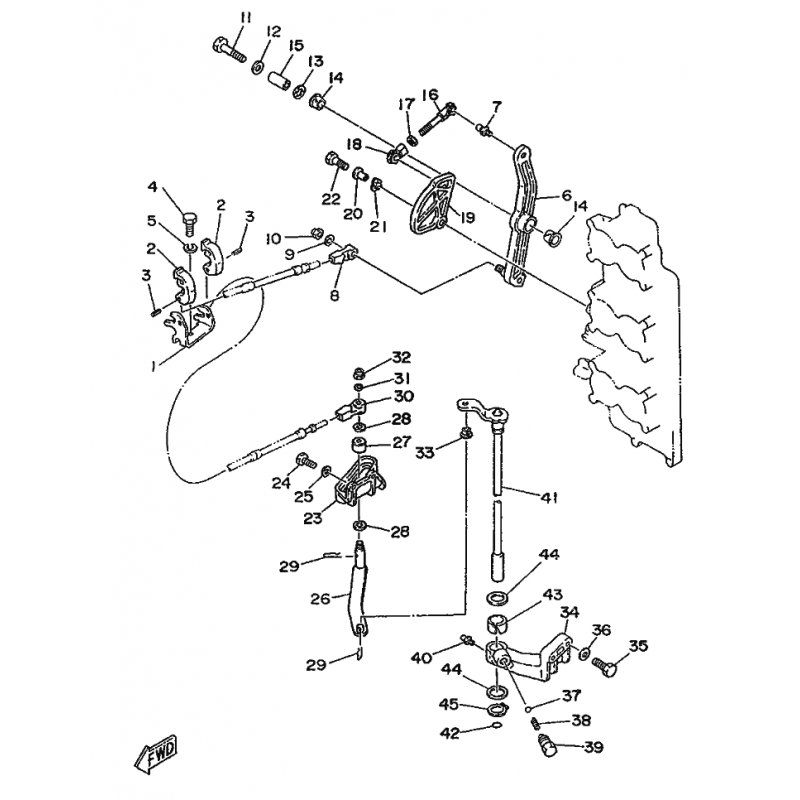
Hersteller: Yamaha
OEM Nummer: 9020108M6100






















