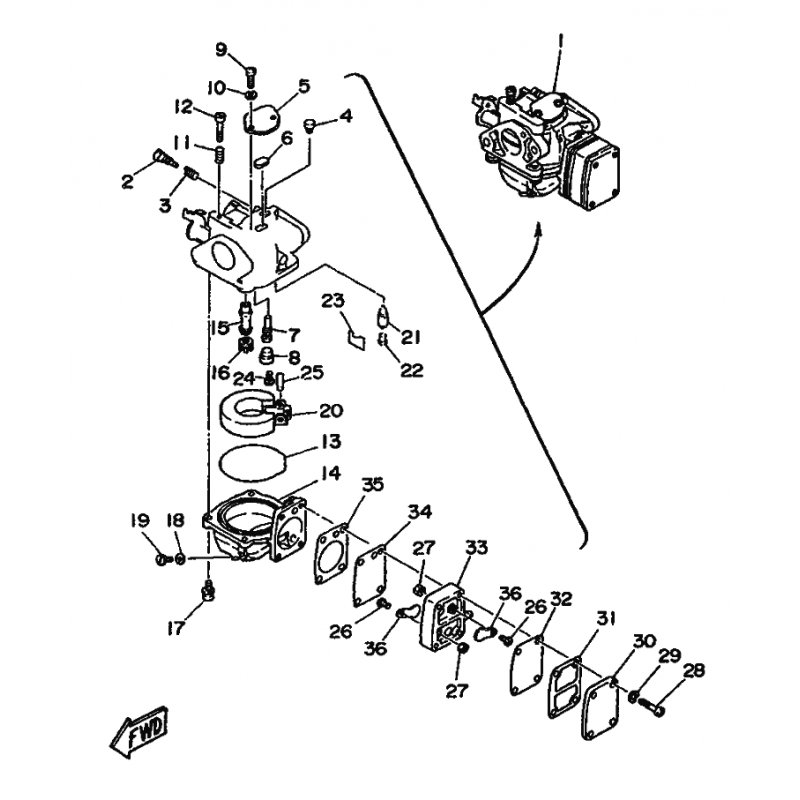
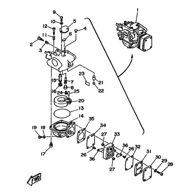
MUTTER
Artikelname: MUTTER
Hersteller: Yamaha
OEM Nummer: 901790347800
Hersteller: Yamaha
OEM Nummer: 901790347800






















