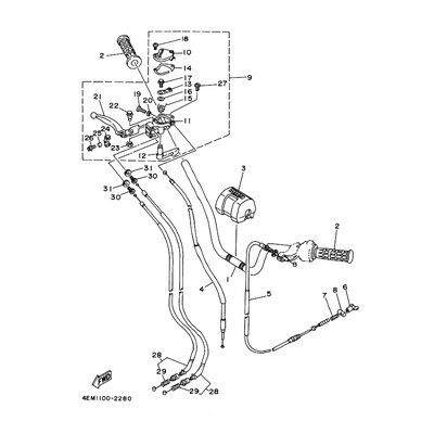
SCHRAUBE
Artikelname: SCHRAUBE
Hersteller: Yamaha
OEM Nummer: 901230810600
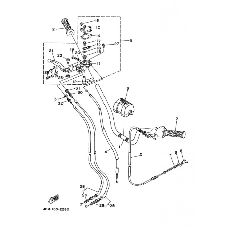
Hersteller: Yamaha
OEM Nummer: 901230810600






















