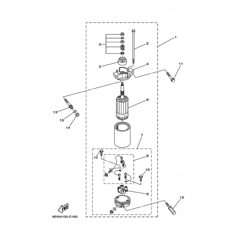
SCHRAUBE
Artikelname: SCHRAUBE
Hersteller: Yamaha
OEM Nummer: 9010908M7700
Hersteller: Yamaha
OEM Nummer: 9010908M7700




















