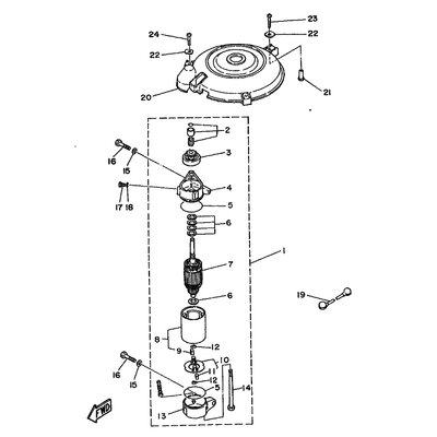
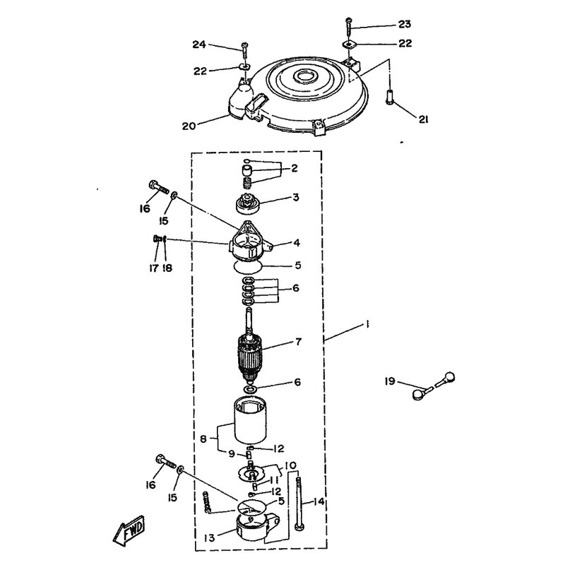
SCHRAUBE
Artikelname: SCHRAUBE
OEM: 90109-08M36 [9010908M3600]
OEM: 90109-08M36 [9010908M3600]






















