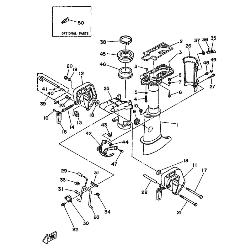
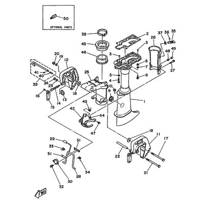
SCHRAUBE
Artikelname: SCHRAUBE
OEM: 90101-08M68 [9010108M6800]
OEM: 90101-08M68 [9010108M6800]






















