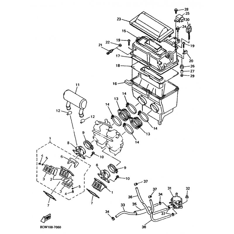
SCHALLDAMPFER, EINLASS 2
Artikelname: SCHALLDAMPFER, EINLASS 2
Hersteller: Yamaha
OEM Nummer: 8CR144410000
Dieser Artikel wurde durch folgenden ersetzt: 8CR144410100
Hersteller: Yamaha
OEM Nummer: 8CR144410000
Dieser Artikel wurde durch folgenden ersetzt: 8CR144410100




















