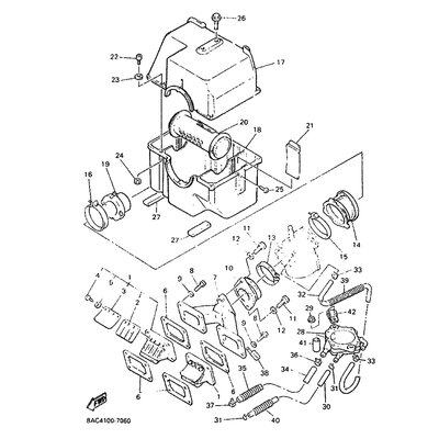
ZUNGENVENTILEINHEIT
Artikelname: ZUNGENVENTILEINHEIT
Hersteller: Yamaha
OEM Nummer: 8AT136100000
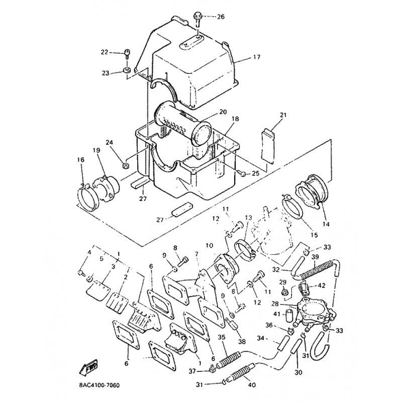
Hersteller: Yamaha
OEM Nummer: 8AT136100000






















