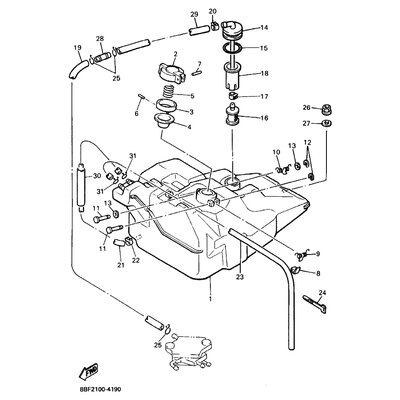
SCHUTZ, ROHR
Artikelname: SCHUTZ, ROHR
Hersteller: Yamaha
OEM Nummer: 88T243260000
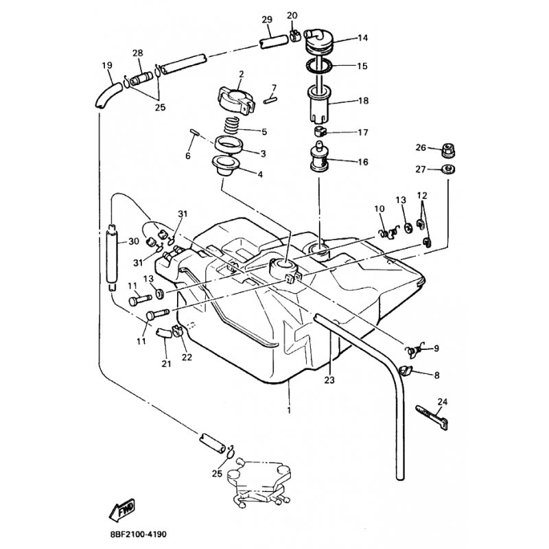
Hersteller: Yamaha
OEM Nummer: 88T243260000






















