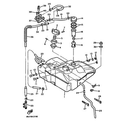
KRAFTSTOFFTANK
Artikelname: KRAFTSTOFFTANK
OEM: 88R-24111-00 [88R241110000]
OEM: 88R-24111-00 [88R241110000]




















